您好!欢迎访问九游网页版官方网站。

热门关键词:

产品分类
新闻动态

九游网页版
联系人:贺经理
手机:13523555121
电话:0371-64031876
传真:0371-69580678
邮箱:13523555121@163.com
邮编:451200
地址:河南巩义市西村镇工业园区

高炉冷却壁波纹补偿器

您的位置:九游(中国) > 产品展示 > 补偿器 > 高炉冷却壁波纹补偿器

高炉冷却壁波纹补偿器

高炉冷却壁波纹补偿器

所属分类:补偿器

为降低炉体温度,在炉壳内侧安装水冷却壁。因为炉体和冷却系统间存在温差,产生轴向相对热位移,这可利用波纹管的横向变形来吸收,保护冷却水管不被剪断,这种波纹管直径虽不大,但是高炉用量多的部件。

详细信息

 

产品分类: 工业炉专用膨胀节
为降低炉体温度,在炉壳内侧安装水冷却壁。因为炉体和冷却系统间存在温差,产生轴向相对热位移,这可利用波纹管的横向变形来吸收,保护冷却水管不被剪断,这种波纹管直径虽不大,但是高炉用量多的部件。

为降低炉体温度,在炉壳内侧安装水冷却壁。因为炉体和冷却系统间存在温差,产生轴向相对热位移,这可利用波纹管的横向变形来吸收,保护冷却水管不被剪断,这种波纹管直径虽不大,但是高炉用量多的部件。
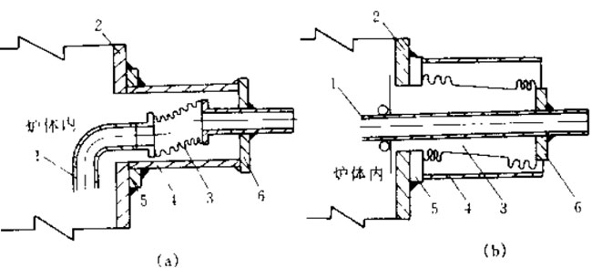
波纹管与炉体及冷却水管的连接有两种典到结构(见图11-4),一种为炉体(2)与护罩(4)为刚性连接的情况,而在冷却水管上连接一单式膨胀节,常用于空间位置较小的中小型高炉的冷却壁,公称直径为DN25~65mm横向补偿量不大的场合(见图11-4(a));另一种使膨胀节一端与炉体(通过补强圈5)连接,另一端通过端板(6)与冷却水管相连,这种膨胀节通常为复式膨胀节,常用于空间位置较大的大、中型高炉,横向位移补偿量较大(10~20mm)的场合,公称直径为DN80~200mm。

产品快速导航

版权所有:九游网页版 地址:河南巩义市西村镇工业园区
电话:0371-64031876   手机:13523555121 传真:0371-69580678

豫ICP备17005782号-1

您是第256036位访问者